Nové položky
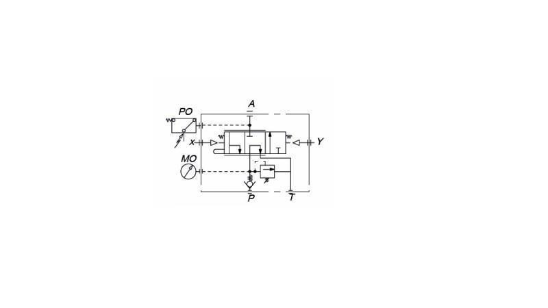
HYDRAULICKÝ VENTIL PRE NÁKLADNÉ VOZIDLÁ 3/4 - 140 LIT
Kód
100652
OEM
9990000075126
Sadzba dane
22 %
Cena bez DPH:
146,72 EUR
Cena s DPH
179,00 EUR
Ref:
25
Dodávateľ:
Turecko
Teplotný rozsah:
-10 + 80°C
Vrátenie alebo výmena:
14 dní
tlak:
350 bar
Prúd:
140 lit/min
pneumatické - ovládanie:
7-12 bar







